Nouveauté 2026:  Bandébondy®  fait tester sa chaussure qui suspend tous le corps par des travailleurs debouts... Résultats à venir!

Nouveauté 2026: inBORN®  et Bandébondy passent en accélération chez Spark innovation

INBORN® met son "Grain de folie" au service de Bandébondy pour créer des produits uniques et disruptifs. Bandébondy s'engage à offrir aux investisseurs et à leurs futures clients des solutions brevetées, uniques et exclusives qui ont étaient semées et muries, récoltées et inventées, conçues et testées en France.

 

 

 

L'inné: Sans lui, t'es sans "ailes" ... Pourtant il est là... Espérant que tu te "retournes!"

Invention N°1*: Lame de suspension active et contre lame

application phare : la chaussure à suspension

* Brevet N°FR2104078  / Brevet européen en attente de réponse/ brevet Américain délivré / CU Chine délivré 

Invention N°2**: lame de suspension active et contre lame en son sommet

 application phare: le roller

** Brevet N°FR2111150 / brevet européen en attente de réponse

Invention N°3***: Double lames imbriquées de suspension active et contre lame

application phare :  la selle de vélo

*** Brevet N° FR2210722 /   Brevet européen en attente de réponse

Ces 3 inventions et leurs déclinaisons font partie d'une série "walking on the moon" qu'inborn à regroupé sous la marque:

bandébondy®

Invention N°1 et N°2 Présentées au Salon des inventions de Genève en Avril 2023. Invention N°3 en Avril 2024: Public conquis (voir vidéo ci dessous) rencontres déterminantes de Robert inventeur / Amal réalisatrice (pour TF1) et médaille d'argent en poche

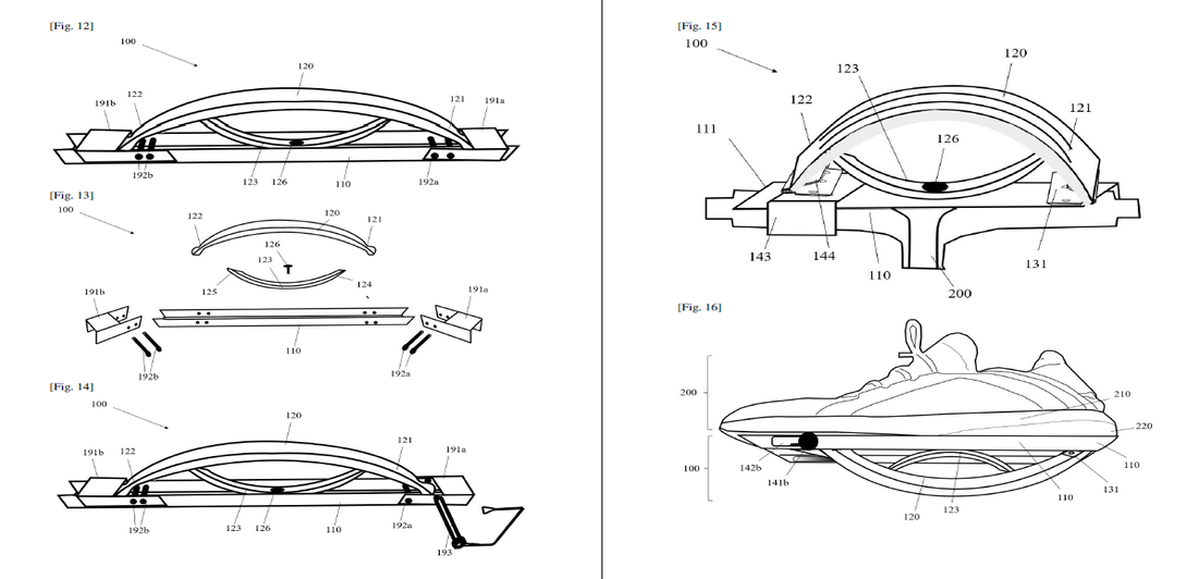
Exemple d'application (et dessins qui accompagne le brevet) invention N°1 Lame de suspension active et contre lame  Bandé Bondy®

Les tous premiers tests sportifs de la lame de ressort intégrée dans la basket avec David  spécialiste en athlétisme   

Exemple d'application (et dessins qui accompagne le brevet) invention N°2 lame de suspension active et contre lame en son sommet Bandé Bondy®

Exemple d'application (et dessins qui accompagne le brevet) invention N°3 Double lames imbriquées de suspension active et contre lame Bandé Bondy®


Tous premiers tests de la selle de vélo à double lames de ressort imbriquées avec David 

Foire aux questions

Qu'est-ce qui rend vos inventions uniques ?

Nos inventions sont uniques car elles sont inventées, brevetés et conçues en France. En outre, elles offrent des expériences inédites disruptives

Quelles sont vos méthodes de travail ?

Ma méthode de travail est l'écoute des signaux faibles, puis plus faibles, puis plus faibles encore, car c'est dans ceux à quoi on ne prête aucune attention que se trouve les graines de l'innovation.

Comment puis-je démarrer un projet avec vous ?

Vous pouvez nous contacter via le formulaire de contact voir "Nous contacter" pour démarrer votre projet avec nous.


Localisation

INBORN
Villeneuve-d'Ascq, Hauts-de-France, France